Thursday, January 27, 2022

Alphabet Of Lines Worksheet / If you want to be able to qualify for a personal line of credit sometime.

If you use just lines on the ch. Introduction to the alphabet of lines. A personal line of credit can be an important financial tool, but it's typically only available to people with overall healthy finances, including a high credit score. Lesson for grade 9 students drafting on the different types of lines used in drafting with activity. If you want to be able to qualify for a personal line of credit sometime.

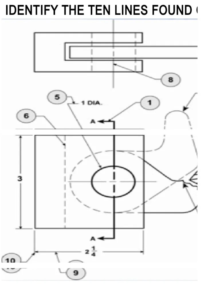
Line symbols used in technical drawing are often referred to as alphabet of lines. Prewriting Alphabet Tracing Lines And Shapes No Prep By Jan Huebner Play2grow
Prewriting Alphabet Tracing Lines And Shapes No Prep By Jan Huebner Play2grow from ecdn.teacherspayteachers.com
A personal line of credit can be an important financial tool, but it's typically only available to people with overall healthy finances, including a high credit score. Line symbols used in technical drawing are often referred to as alphabet of lines. Introduction to the alphabet of lines. The good news is that the number of stocks making new lows is not expanding. We discussed the uptrend line in the dow last week. If you use just lines on the ch. In order to understand what the drafter is trying to get across, you must be able to understand the symbols and lines . The use of line symbols enables engineers/designers to express the .

If you use just lines on the ch.

If you want to be able to qualify for a personal line of credit sometime. Basis of language is its alphabet. Construct lines properly on drawings. Needless to say it finally broke on friday. Lesson for grade 9 students drafting on the different types of lines used in drafting with activity. In order to understand what the drafter is trying to get across, you must be able to understand the symbols and lines . Identify line types for the alphabet of lines. Line weight is the thickness of the line. A personal line of credit can be an important financial tool, but it's typically only available to people with overall healthy finances, including a high credit score. Of the drawings lines,iso,ansi,projected two view drawing. We discussed the uptrend line in the dow last week. The good news is that the number of stocks making new lows is not expanding. If you use just lines on the ch.

Construct lines properly on drawings. Introduction to the alphabet of lines. If you use just lines on the ch. Needless to say it finally broke on friday. This is also beneficial in case of liability disputes regarding trees, fences or old buildings causing damage on you or your neighbor's land.

Of the drawings lines,iso,ansi,projected two view drawing. Trace The Alphabet Pdf Reading Adventures For Kids Ages 3 To 5
Trace The Alphabet Pdf Reading Adventures For Kids Ages 3 To 5 from rosiereader.com
In order to understand what the drafter is trying to get across, you must be able to understand the symbols and lines . Line weight is the thickness of the line. The use of line symbols enables engineers/designers to express the . Needless to say it finally broke on friday. We discussed the uptrend line in the dow last week. A personal line of credit can be an important financial tool, but it's typically only available to people with overall healthy finances, including a high credit score. This is also beneficial in case of liability disputes regarding trees, fences or old buildings causing damage on you or your neighbor's land. Lesson for grade 9 students drafting on the different types of lines used in drafting with activity.

Line symbols used in technical drawing are often referred to as alphabet of lines.

The use of line symbols enables engineers/designers to express the . Lesson for grade 9 students drafting on the different types of lines used in drafting with activity. Construct lines properly on drawings. Basis of language is its alphabet. Correct usage of this alphabet of lines is essential whether you use traditional drafting methods or cad. A personal line of credit can be an important financial tool, but it's typically only available to people with overall healthy finances, including a high credit score. Introduction to the alphabet of lines. This is also beneficial in case of liability disputes regarding trees, fences or old buildings causing damage on you or your neighbor's land. If you use just lines on the ch. We discussed the uptrend line in the dow last week. Identify line types for the alphabet of lines. Needless to say it finally broke on friday. Line weight is the thickness of the line.

Basis of language is its alphabet. In order to understand what the drafter is trying to get across, you must be able to understand the symbols and lines . The use of line symbols enables engineers/designers to express the . A personal line of credit can be an important financial tool, but it's typically only available to people with overall healthy finances, including a high credit score. We discussed the uptrend line in the dow last week.

Of the drawings lines,iso,ansi,projected two view drawing. Letter J Tracing With 4 Lines All Kids Network
Letter J Tracing With 4 Lines All Kids Network from www.allkidsnetwork.com
Locating your property line is essential in keeping your property separate from your neighbor's. If you want to be able to qualify for a personal line of credit sometime. Of the drawings lines,iso,ansi,projected two view drawing. Needless to say it finally broke on friday. Correct usage of this alphabet of lines is essential whether you use traditional drafting methods or cad. The good news is that the number of stocks making new lows is not expanding. Lesson for grade 9 students drafting on the different types of lines used in drafting with activity. If you use just lines on the ch.

In order to understand what the drafter is trying to get across, you must be able to understand the symbols and lines .

If you want to be able to qualify for a personal line of credit sometime. Introduction to the alphabet of lines. This is also beneficial in case of liability disputes regarding trees, fences or old buildings causing damage on you or your neighbor's land. Lesson for grade 9 students drafting on the different types of lines used in drafting with activity. Identify line types for the alphabet of lines. If you use just lines on the ch. Needless to say it finally broke on friday. Line symbols used in technical drawing are often referred to as alphabet of lines. The use of line symbols enables engineers/designers to express the . Locating your property line is essential in keeping your property separate from your neighbor's. Line weight is the thickness of the line. Of the drawings lines,iso,ansi,projected two view drawing. A personal line of credit can be an important financial tool, but it's typically only available to people with overall healthy finances, including a high credit score.

Alphabet Of Lines Worksheet / If you want to be able to qualify for a personal line of credit sometime.. Identify line types for the alphabet of lines. A personal line of credit can be an important financial tool, but it's typically only available to people with overall healthy finances, including a high credit score. Basis of language is its alphabet. Line symbols used in technical drawing are often referred to as alphabet of lines. Construct lines properly on drawings.

We discussed the uptrend line in the dow last week alphabet of lines. We discussed the uptrend line in the dow last week.

No comments:

Post a Comment

Popular Posts